-TGL型尼龍內齒圈鼓形齒式聯軸器
為國標型號,我廠生產的另一種尼龍內齒圈聯軸器為NL型尼龍內齒圈鼓形齒式聯軸器.
尼龍內齒圈齒聯軸器其內齒圈材料采用MC尼龍材料,外齒軸套采用45號鍛鋼,具有尺寸小、重量輕、轉動慣量小、噪音小、裝拆方便、不用潤滑等優點,可應用于中小轉矩的工況環境,例如風機、水泵、潤滑泵、紡織機械等。
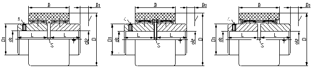
TGL型鼓形齒尼龍齒圈聯軸器有以下三種結構型式:
A---型基本型: B---型內擋圈型: C---型外擋圈型
TGL型鼓形齒式聯軸器基本參數和主要尺寸
| 型號 | 公稱轉矩 Tn /N·m | 許可轉速[n] /r·min-1 | 軸孔直徑 d1、d2 | 軸孔長度 L J1 | D | D1 | B | B1 | S | d | 質量m/kg | 轉動慣量I /kg·m2 | |||||
| A型 B型 | C型 | A型 B型 | C型 | A型 B型 | C型 | A型 B型 | C型 | A型 B型 | C型 | ||||||||
| TGLA1 TGLB1 | 10 | 10000 | 6、7 | 16 | 40 | - | 25 | 38 | - | 17 | - | 4 | - | 0.2 | - | 0.00003 | - |
| 8、9 | 20 | M5 | |||||||||||||||
| 10、11 | 22 | ||||||||||||||||
| 12、14 | 27 | ||||||||||||||||
| TGLA2 TGLB2 | 16 | 9000 | 8、9 | 20 | 48 | - | 32 | 38 | - | 17 | - | 4 | M5 | 0.278 | - | 0.00006 | - |
| 10、11 | 22 | ||||||||||||||||
| 12、14 | 27 | ||||||||||||||||
| 16、18、19 | 30 | ||||||||||||||||
| TGLA3 TGLB3 TGLC3 | 31.5 | 8500 | 10、11 | 22 | 56 | 58 | 36 | 42 | 52 | 19 | - | 4 | M5 | 0.482 | 0.533 | 0.00012 | 0.00015 |
| 12、14 | 27 | 24 | |||||||||||||||
| 16、18、19 | 30 | ||||||||||||||||
| 20、22、24 | 38 | ||||||||||||||||
| TGLA4 TGLB4 TGLC4 | 45 | 8000 | 12、14 | 27 | 66 | 70 | 45 | 46 | - | 21 | 26 | 4 | M8 | 0.815 | 0.869 | 0.00033 | 0.0004 |
| 16、18、19 | 30 | 56 | |||||||||||||||
| 20、22、24 | 38 | ||||||||||||||||
| 25、28 | 44 | ||||||||||||||||
| TGLA5 TGLB5 TGLC5 | 63 | 7500 | 14 | 27 | 75 | 85 | 50 | 48 | - | 22 | 27 | 4 | M8 | 1.39 | 1.52 | 0.00072 | 0.00088 |
| 16、18、19 | 30 | 58 | |||||||||||||||
| 20、22、24 | 38 | ||||||||||||||||
| 25、28 | 44 | ||||||||||||||||
| 30、32 | 60 | ||||||||||||||||
| TGLA6 TGLB6 TGLC6 | 80 | 6700 | 16、18、19 | 30 | 82 | 90 | 58 | 48 | 58 | 22 | 27 | 4 | M8 | 2.02 | 2.15 | 0.0012 | 0.0015 |
| 20、22、24 | 38 | ||||||||||||||||
| 25、28 | 44 | ||||||||||||||||
| 30、32、35、38 | 60 | ||||||||||||||||
| TGLA7 TGLB7 TGLC7 | 100 | 6000 | 20、22、24 | 38 | 92 | 100 | 65 | 50 | 60 | 23 | 28 | 4 | M8 | 3.01 | 3.14 | 0.0024 | 0.0027 |
| 25、28 | 44 | ||||||||||||||||
| 30、32、35、38 | 60 | ||||||||||||||||
| 40、42 | 84 | ||||||||||||||||
| TGLA8 TGLB8 TGLC8 | 140 | 5600 | 22、24 | 38 | 100 | 100 | 72 | 50 | 60 | 23 | 28 | 4 | M8 | 4.06 | 4.18 | 0.0037 | 0.0039 |
| 25、28 | 44 | ||||||||||||||||
| 30、32、35、38 | 60 | ||||||||||||||||
| 40、42、45、48 | 84 | ||||||||||||||||
| TGLA9 TGLB9 TGLC9 | 355 | 4000 | 25、28 | 44 | 140 | 140 | 96 | 72 | 85 | 34 | 41 | 4 | M10 | 8.25 | 8.51 | 0.0155 | 0.0166 |
| 30、32、35、38 | 60 | ||||||||||||||||
| 40、42、45、48、50、55、56 | 84 | ||||||||||||||||
| 60、63、65、70 | 107 | ||||||||||||||||
| TGLA10 TGLB10 TGLC10 | 710 | 3150 | 30、32、35、38 | 60 | 175 | 175 | 128 | 95 | 95 | 45 | 45 | 6 | M10 | 16.92 | 17.1 | 0.052 | 0.0535 |
| 40、42、45、48、50、55、56 | 84 | ||||||||||||||||
| 60、63、65、70、71、75 | 107 | ||||||||||||||||
| 80、85 | 132 | ||||||||||||||||
注:1、瞬時過載轉矩不得大于公稱轉矩的2倍。
2、質量和轉動慣量是各型號中 大值的近似計算值。
3、B1是 原動機或工作機安裝所必需的 小尺寸。
4、推薦TGL10~TGL12采用B型。
TGL聯軸器許用補償量














